37+ Drawing A Line Segment


Constructing A Line Segment Construction Of Line Segment Constructing


Line Segment Wikipedia


Draw A Line Segment Using Scale Math Lecture Sabaq Pk Youtube


Solution Thanks In Advance For Helping Me I Truley Don T Understand Please Help Me To Find The Answer Here Is The Question You Can Draw 1 Segment To Connect 2 Points And


Draw A Line Segment Ab Of Length 7 Cm Taking A As Centre Draw A Circle Of Radius 3 Cm And Taking B As Centre Draw Another Circle Of Radius 2 Cm


Pin On Multiplication Magic Multiplication Worksheets


The Overlook At Kidd Farm Walden New York


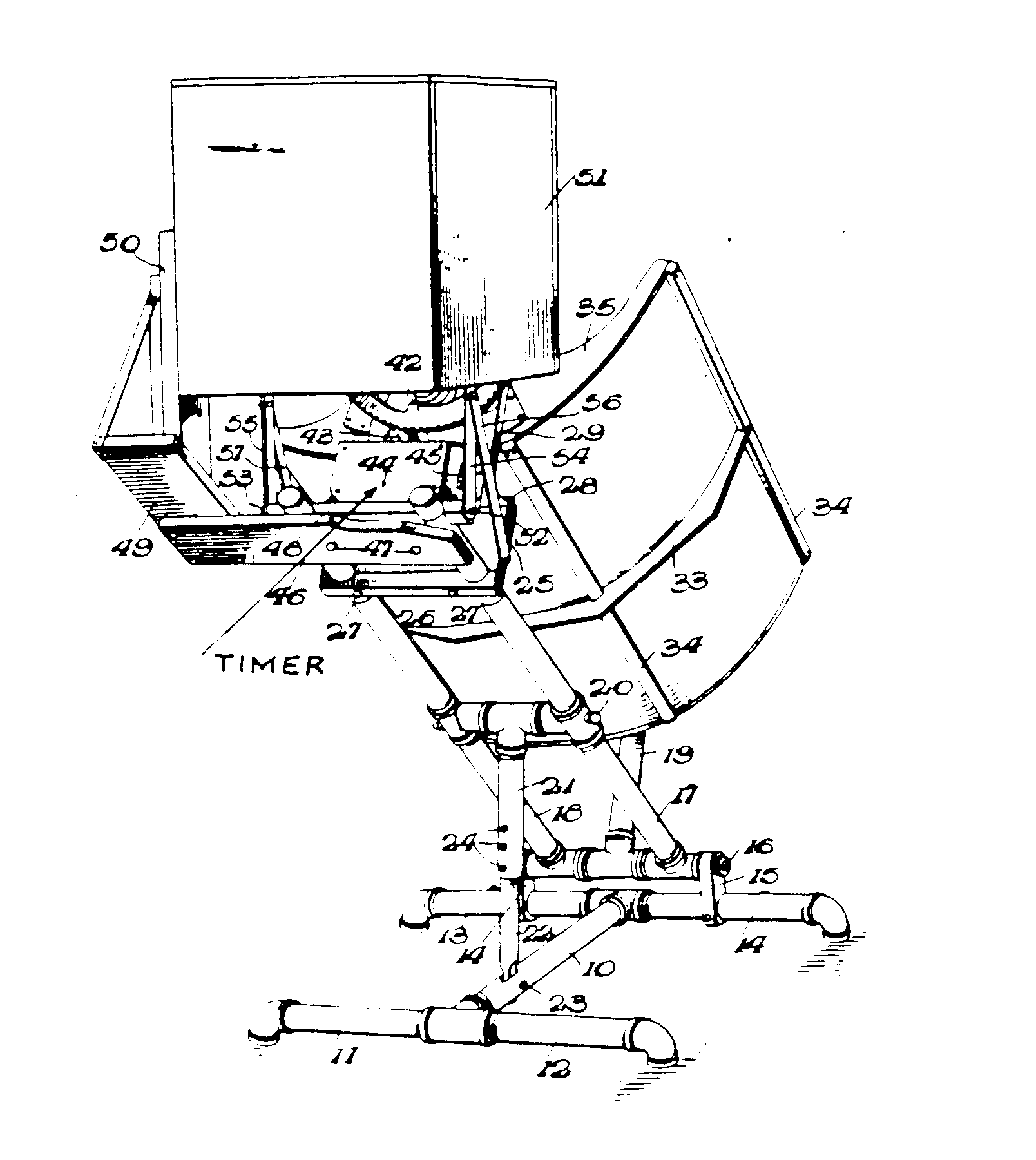
Class Definition For Class 137 Fluid Handling


Question 1 Draw A Line Segment Of Length 7 3 Cm Using A Ruler


Why Can T I Even Draw A Straight Line Or A Circle Properly Quora


Is There A Mathematical Explanation For Why I Cannot Draw A Square With Diagonals Without Lifting My Pen Off The Paper At Least Once Quora


Pin En Girasoles


Full Title For Class 126 Subclass 660


Social Blog Topics Marin Software


Anorexia Advertisement Analysis Ppt


Drawing A Line Segment Knowing The Slope Chapter 6 1 Youtube


Lines Line Segment And Ray Artwork Ms Pratt S Class


What Is A Line Segment Formula Examples Turito

Iklan Atas Artikel

Iklan Tengah Artikel 1

Iklan Tengah Artikel 2

Iklan Bawah Artikel